Sony Siapkan Controller DualShock Versi Baru?

Semakin hari, kabar perkembangan PlayStation 5 semakin menarik saja untuk dibahas. Setelah sempat heboh dengan bentuk devkit PS5 serta spesifikasi resmi hardware-nya, kini beredar info tentang kontroler DualShock baru yang diduga bakal digunakan di PS5. Seperti apa bentuknya?
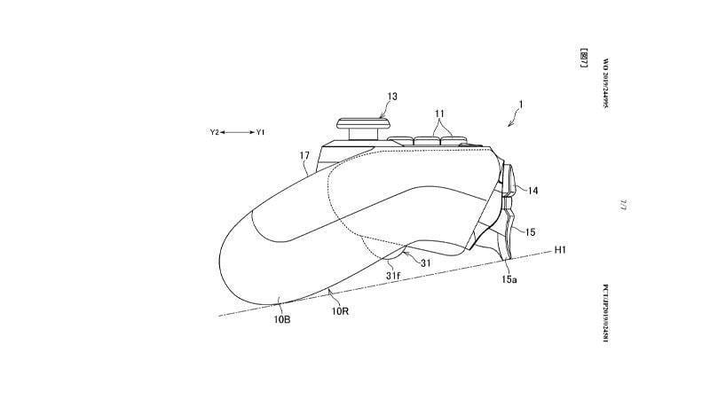
1. Dilengkapi<i> back button</i>

Informasi tentang desain baru DualShock muncul sebagai dokumen paten dalam database World Intellectual Property Organization (WIPO). Dokumen ini menampilkan beberapa desain perubahan baru dari DualShock 4.
Pertama adalah penambahan dua back button di belakang yang bisa diprogram untuk menjalankan fungsi tombol lain. Kemudian, tombol PlayStation juga hilang dari tampilan depan. Selain itu, tampilan kontroler ini masih sama dengan DualShock 4 standar.
2. Kemungkinan untuk hadir di PS5

Dokumen paten tersebut mengatakan bahwa desain DualShock baru tersebut masih belum sepenuhnya final, dimana tombol back button tersebut punya kemungkinan untuk pindah posisi. Bisa saja nantinya tombol ini bisa dipindahkan sesuka hati.
Ada juga indikasi bahwa desain kontroler ini bakal digunakan di PlayStation 5. Namun hal ini dipandang berlawanan dengan pernyataan bahwa DualShock 5 nantinya akan menggunakan port USB-C. Desain paten untuk kontroler ini masih menggunakan port Micro USB.
3. Apa kabar <i>back button attachment?</i>

Kemunculan tombol back button di desain DualShock baru ini tentu membuat kita ingat akan back button attachment untuk DualShock 4 yang diumumkan belum lama ini. Jika Sony sudah mendaftarkan hak paten untuk desain DualShock baru dengan back button, kenapa mereka repot-repot membuat back button attachment yang akan segera rilis di bulan Januari depan?
Desain DualShock baru di atas ini masih berupa dokumen paten yang setidaknya mendaftarkan hak cipta atas kontroler tersebut. Bentuk akhirnya bisa jadi berbeda dengan dokumen paten ini. Jadi setidaknya Sony sudah punya rencana agar back button attachment yang sudah diproduksi tidak hanya menjadi stopgap semata. Semoga saja ya.


















